一般大部分檢測水中COD的方法中對于氯離子含量都有嚴格的要求。因為目前氯離子是COD水質檢測中最大的干擾因素,雖然現有的方法中也有一些處理手段,但在實際的檢測中仍然有一定的局限性。而今天我們與大家一起了解一種在高氯離子含量時檢測COD的方法。
本方法的原理是在高氯離子水樣中加入適宜濃度的硫酸,在加熱及吹氣條件下使氯離子以氯化氫的形式釋放出來,以達到驅除氯離子干擾的目的,產生的廢氣氯化氫用一定濃度體積的氫氧化鈉吸收避免外排至環境中。驅除氯離子后,在水樣中加入已知量的重銘酸鉀溶液,并在強酸介質下以銀鹽作催化劑,經沸騰回流后,以試亞鐵靈為指示劑,用硫酸亞鐵鉉滴定水樣中未被還原的重銘酸鉀,由消耗的硫酸亞鐵鉉的量換算成消耗氧的質量濃度。
1 .硫酸。
2. 硫酸銀。
3. 硫酸溶液I:4+1(v/v)。
4. 硫酸溶液II:1+9(v/v)。
5. 氫氧化鈉溶液:0.05mol/L。
稱取2.0g分析純氫氧化鈉于燒杯中,用水溶解并稀釋至1000mL。
6. 硫酸汞溶液:100g/L。
稱取10g分析純硫酸汞,溶于100mL硫酸溶液II中,混勻。
7. 重銘酸鉀標準儲備液:0.250mol/L。
稱取12.258g于120℃±2℃的電烘箱中干燥至恒重的基準試劑重銘酸鉀,溶于水中,移入1000mL容量瓶中,用水稀釋至刻度,搖勻。保存于4℃冰箱中,有效期為6個月。也可購買市售標準溶液。
8. 重銘酸鉀標準使用液:0.0250mol/L。
移取50.00mL重銘酸鉀標準儲備液于500mL容量瓶中,用水稀釋至刻度,搖勻。保存于4℃冰箱中,有效期為2個月。
9. 硫酸亞鐵鉉標準儲備液;0.05mol/L。
稱取19.5g分析純硫酸亞鐵依,溶于水中,加入10mL硫酸,待溶液冷卻后移入1000mL容量瓶中,用水稀釋至刻度,搖勻。保存于4℃冰箱中,有效期為6個月。
10. 硫酸亞鐵鉉標準使用液:0.005mol/L。
移取50.00mL硫酸亞鐵鉉標準儲備液于500mL容量瓶中,用水稀釋至刻度,搖勻。保存于4℃冰箱中,有效期為2個月。
11. 每日臨用前,必須用重銘酸鉀標準使用液準確標定硫酸亞鐵鉉標準使用液的濃度。
12. 取5.00mL重銘酸鉀標準使用液置于錐形瓶中,用水稀釋至約50mL,緩慢加入15mL硫酸,混勻,冷卻后加3滴(約0.15mL)試亞鐵靈指示劑,用硫酸亞鐵鉉標準使用液滴定,溶液的顏色由黃色經藍綠色變為紅褐色即為終點。
13. 試亞鐵靈指示劑溶液。稱取0.7g分析純七水合硫酸亞鐵,溶于50mL水中,加入1.5g分析純1,10-菲繞咻,攪拌至溶解,稀釋至100mL,于棕色瓶中貯存。
14. 鄰苯二甲酸氫鉀標準溶液:2.0824mmol/L。
稱取0.4251g于105℃±2℃的電烘箱中干燥2h的基準試劑鄰苯二甲酸氫鉀,溶于水,移入1000mL容量瓶中,用水稀釋至刻度,搖勻。保存于4℃冰箱中,有效期為2個月。也可購買市售標準溶液。以重銘酸鉀為氧化劑,將鄰苯二甲酸氫鉀完全氧化的CODcr值為1.176g氧/克(即lg鄰苯二甲酸氫鉀耗氧1.176g),故該標準溶液的理論CODcr值為500mg/L。
1. 防爆沸玻璃珠或沸石。
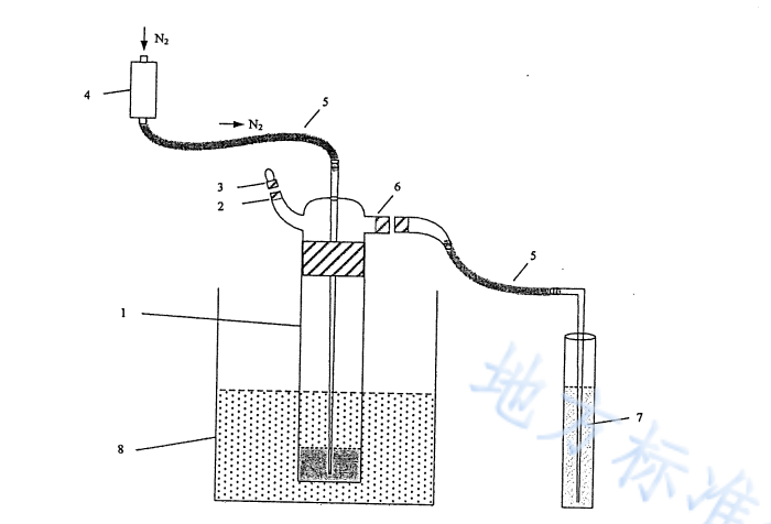
2. 恒溫水浴酸化吹氣裝置
3. CODcr回流裝置:可使用帶有磨口尺寸為Φ=40mm、高度為18cm(或21cm)的250mL磨口CODCr消解瓶的全玻璃回流裝置。也可使用其它規格的CODcr消解瓶,使用前需進行驗證。建議釆用水冷或風冷全玻璃回流裝置,其他等效冷凝回流裝置亦可。
4. CODcr加熱裝置:CODcr回流裝置配套的加熱裝置。
5. 天平:感量為0.0001g和0.01g。
6. 酸式滴定管:25mL或50mL。
7. 電烘箱。

取10.0mL充分搖勻的水樣于CODcr消解瓶中,移至已提前預熱至70℃±2℃的恒溫水浴酸化吹氣裝置中,將消解瓶固定以保持穩定,按說明連接酸化吹氣裝置,氯化氫吸收管中加入50mL氫氧化鈉溶液。趁熱從加酸口加入20mL硫酸溶液I,接通氮氣,檢查裝置的氣密性后,以400mL/min的速度吹氣50min。
酸化吹氣結束后,關閉氮氣,取下連接管,取出CODcr消解瓶,向驅除氯離子后的樣品中加入2mL硫酸汞溶液、5.0mL重銘酸鉀標準使用液、0.15g硫酸銀、防爆沸玻璃珠或沸石,搖勻。
將CODcr消解瓶連接到回流裝置冷凝管下端,不斷旋動CODcr消解瓶使之混合均勻。自溶液開始沸騰起保持微沸回流2h。
回流并冷卻后,自冷凝管上端加入45mL水沖洗冷凝管,取下CODcr消解瓶。
溶液冷卻至室溫后,加入3滴試亞鐵靈指示劑溶液,用硫酸亞鐵鉉標準使用液滴定,溶液的顏色由黃色經藍綠色變為紅褐色即為終點。記下硫酸亞鐵鉉標準使用液的消耗體積V1。
CODcr濃度>50mg/L的樣品可稀釋后測定。
然后按照相同的步驟以10.0mL實驗室一級純水代替被測水樣進行空白試驗,并記錄空白滴定時消耗的硫酸亞鐵銨標準溶液的體積V0。
最后按照相關公式計算出化學需氧量的濃度。